Wednesday February 2026

হটলাইন

সেবা এবং ধাপ

নং শিরোনাম সেবার ধাপ কার্যকলাপ
  
উপজেলা পর্যায়ে সার ডিলার নিয়োগ দেখুন
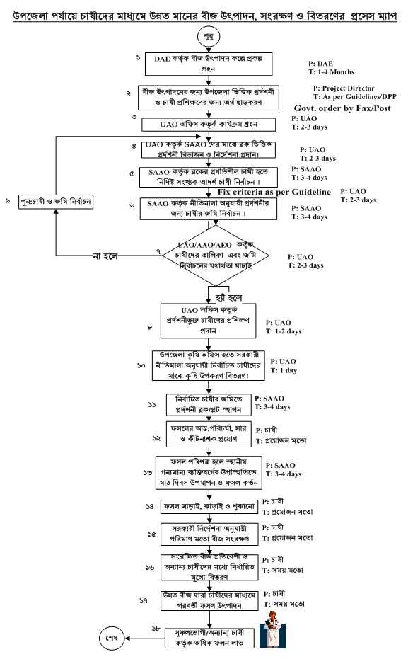
উন্নত জাতের বীজ উৎপাদন, সংরক্ষণ ও বিতরণ দেখুন
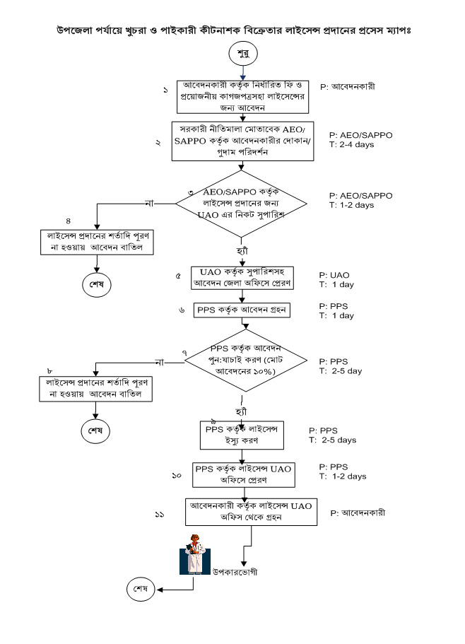
কীটনাশক বিক্রেতার লাইসেন্স প্রদান দেখুন
উপজেলা পর্যায়ে মাটির স্বাস্থ্য পরীক্ষা দেখুন
ফসলের নতুন নতুন জাত সম্প্রসারণ দেখুন
সমন্বিত ফসল ও বালাই ব্যবস্থাপনা দেখুন
দেখছেন ১ থেকে ৬ পর্যন্ত, মোট ৬ এন্ট্রি

এক্সেসিবিলিটি

স্ক্রিন রিডার ডাউনলোড করুন